Оглавление: Модели Mirage по 1992 г. вып. ⤓ Модели Mirage с 1993 г. вып. ⤓ Модели Galant и Diamante ⤓
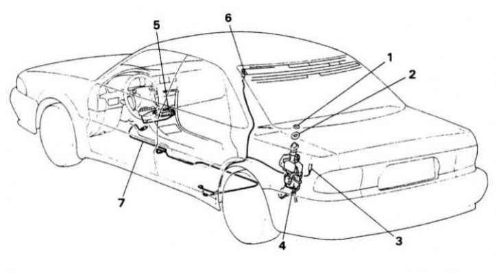
Детали установки антенны радиоприемника на моделях Mirage по 1992 г. вып.
1 - Центральная секция отделки панели приборов и вещевой ящик; 2 - Накладка порога; 3 - Накладка бокового обтекателя; 4 - Воздушный рукав (модели с задним отопителем); 5 - Модуль управления MPI; 6 - Радиоприемник; 7 - Кабельные обвязки; 8 - Фиксаторы; 9 - Мачта антенны; 10 - Гайка крепления основания антенны; 11 - Основание антенны
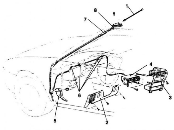
Детали установки антенны радиоприемника на моделях Mirage с 1993 г. вып.
1 - Мачта антенны; 2 - Коленный упор; 3 - Центральная секция отделки панели приборов; 4 - Магнитола; 5 - Накладка бокового обтекателя; 6 - Фиксатор; 7 - Антенный кабель; 8 - Основание антенны
Детали установки антенны радиоприемника на моделях Galant
Стационарная антенна: 1 - Панель боковой обивки багажного отделения; 2 - Мачта антенны; 3 - Кольцевая гайка; 4 - Контактный разъем антенного кабеля
Электроприводная антенна: 1 - Панель боковой обивки багажного отделения; 2 - Кольцевая гайка; 3 - Разъем электропроводки; 4 - Контактный разъем антенного кабеля; 5 - Приводной электромотор
Детали установки антенны радиоприемника на моделях Diamante
1 - Кольцевая гайка; 2 - Основание антенны; 3 - Контактный разъем электропроводки и антенного кабеля; 4 - Сборка приводного электромотора; 5 - Магнитола; 6 - Стекольная антенна с контактным разъемом антенного кабеля; 7 - Антенный кабель
Примечание. Замена мачты антенны может быть произведена путем простого ее выворачивания из основания. Ниже приведено описание процедуры замены основания в сборе с антенным кабелем.
Модели Mirage по 1992 г. вып.
Снятие
1. Детали установки антенны радиоприемника на моделях Mirage по 1992 г. вып. показаны на иллюстрации.
2. Поддомкратьте автомобиль и установите его на подпорки.
3. Снимите правое переднее колесо.
4. Снимите локер защиты колесной арки.
5. С целью обеспечения доступа к радиоприемнику снимите центральную секцию отделки панели приборов и вещевой ящик.
6. Снимите накладки порога правой передней двери автомобиля.
Статья была заимствована с сайта: mitsubishiman.ru
7. На моделях с задним отопителем снимите проложенный под вещевым ящиком воздуховод.
8. Аккуратно снимите PCM (см. Главу Системы управления двигателем).
9. Снимите радиоприемник и отсоедините от него антенный кабель.
10. Высвободите кабель из промежуточных обвязок и фиксаторов крепления его под панелью приборов.
11. Выверните мачту антенны из сборки ее основания.
12. Отдайте верхнюю гайку крепления основания антенны (на крыле автомобиля) и отпустите нижний болт крепления мачты.
13. Снимите мачту и аккуратно высвободите антенный кабель.
Установка
1. Заправьте в отверстие в крыле сменную антенную сборку и прочно затяните верхнюю гайку и нижний болт.
2. Осторожно заведите кабель под панель приборов по подсоедините его к радиоприемнику, - проследите за надежностью крепления кабеля во всех предусмотренных фиксаторах и обвязках.
3. Установите на место модуль управления MPI.
4. Если снимали, установите на место воздушный рукав отопителя.
5. Установите накладки порога правой передней двери.
6. Установите вещевой ящик.
7. Установите центральную секцию отделки панели приборов.
8. Установите локер защиты колесной арки.
9. Установите колесо и опустите автомобиль на землю.
Модели Mirage с 1993 г. вып.
Снятие
1. Детали установки антенны радиоприемника на моделях Mirage с 1993 г. вып. показаны на иллюстрации.
2. Отсоедините отрицательный провод от батареи.
Внимание! Если установленная на автомобиле стереосистема оборудована охранным кодом, прежде чем отсоединять батарею удостоверьтесь в том, что располагаете правильной комбинацией для ввода аудиосистемы в действие!
3. Выверните винты крепления основания антенны.
4. Поднимите мачту антенны в сборе с основанием и отделите ее от крыши автомобиля.
5. Отсоедините антенный кабель.
Установка
Установка производится в обратном порядке.
Модели Galant и Diamante
Снятие
1. Детали установки антенны радиоприемника на моделях Galant и Diamante показаны на иллюстрациях.
2. Отсоедините отрицательный провод от батареи.
Внимание! Если установленная на автомобиле стереосистема оборудована охранным кодом, прежде чем отсоединять батарею удостоверьтесь в том, что располагаете правильной комбинацией для ввода аудиосистемы в действие!
3. Снимите боковую панель обивки багажного отделения.
4. На моделях со стационарной антенной выверните мачту.
5. Аккуратно отпустите установленную сверху на крыле автомобиля кольцевую гайку.
6. Отсоедините электропроводку от приводного электромотора. Отсоедините антенный кабель.
7. Отдайте крепежные болты и гайки и снимите сборку электромотора привода антенны.
Установка
1. Установите приводной электромотор и затяните элементы его крепежа.
2. Восстановите исходное подсоединение электропроводки и антенного кабеля.
3. Наверните кольцевую гайку и аккуратно затяните ее с требуемым усилием (4 Н·м, - чуть сильнее, чем от руки).
4. На моделях со стационарной антенной вверните мачту.
5. Установите боковую панель обивки багажного отделения.
