Русский English
Български
Беларускі
Український
Српски
Hrvatski
Română
Polski
Slovenský
Magyar
Статьи В закладки Контакты Карта Поиск:  
Компания Audi Компания Ford Компания Hyundai Компания Kia Компания Mazda Компания Mercedes-Benz Компания Nissan
MitsubishiMan.ru
 
 
 
 
 
 
 
Главная Colt Lancer Galant L200 Outlander Pajero Остальные
L200 4 (2005-2014, дизель)

Разборка и сборка приемно-измерительного блока топливного бака (Mitsubishi L200 4)

  • Главная
  • Л200
  • 4 (2005-2014, дизель)
  • Силовой агрегат
  • Топливная система
  • Разборка и сборка приемно-измерительного блока топ…
0

Последовательность разборки



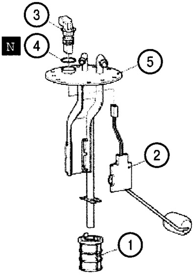
1. Топливный фильтр; 2. Датчик уровня; 3. Разъем; 4. Уплотнительное кольцо; 5. Фланец с топливными…

1. Топливный фильтр; 2. Датчик уровня; 3. Разъем; 4. Уплотнительное кольцо; 5. Фланец с топливными трубками
Эта статья доступна на: английском, болгарском, белорусском, украинском, сербском, хорватском, румынском, польском, словацком, венгерском
Данная статья была проверена: Никита Романов
Поделитесь с друзьями:
◀ Предыдущие
L200 4: Топливная система
Следующие ▶

Снятие и установка топливного бака
Система подачи топлива — описание конструкции
Снятие и установка элементов системы подачи топлива
Замена фильтрующего элемента топливного фильтра
Свечи накаливания
Похожие материалы для других моделей Мицубиси

➤ Разборка и сборка дизельного двигателя Мицубиси Кольт 4 и 5 (1991-2003)
➤ Разборка и сборка приводного вала (модели 2WD) Мицубиси Лансер 9 (2000-2007, бензин)
➤ Снятие и установка топливного бака Мицубиси Галант 6 и 7 (1987-1998)
➤ Сборка компонентов блока цилиндров Мицубиси Аутлендер 1 (2003-2008)
➤ Наливная горловина топливного бака Мицубиси Паджеро 1 и 2 (1982-1999)
➤ Разборка и сборка дроссельного узла Мицубиси Каризма (1995-2004)
Ссылка в разных форматах на эту статью
TEXTHTMLBB Code
Комментарии и отзывы посетителей
Комментариев пока нет


Сложите два числа 43 + 38

       





L200 4 (2005-2014, дизель) 
  • Общая информация
  • Руководство по эксплуатации
  • Техническое обслуживание
  • Силовой агрегат
  • Дизельный двигатель
  • Система смазки
  • Топливная система
  • Система управления
  • Трансмиссия
  • Сцепление
  • Механическая коробка
  • Раздаточная коробка
  • Передний мост
  • Задний мост
  • Шасси и ходовая часть
  • Подвеска автомобиля
  • Рулевое управление
  • Тормозная система
  • Кузов и салон
  • Экстерьер (наружные элементы)
  • Интерьер (внутренние элементы)
  • Двери, замки и окна
  • Электрооборудование
  • Оборудование и приборы
  • Электрические схемы
   Автомобильный анекдот:
показать следующий
MitsubishiMan.ru © 2018–2025 • Мобильная версия • Статьи о Мицубиси • Контакты • Карта сайта: EN BG BY UA RS HR RO PL SK HU • Поиск по сайту • В закладки
Кольт 2 и 3 (1983-1993) · Кольт 4 и 5 (1991-2003) · Кольт 5 (1995-2003) · Лансер 3 и 5 (1984-1992) · Лансер 9 (2000-2007) · Галант 5 (1983-1989) · Галант 6 и 7 (1987-1998) · L200 4 (2005-2014) · Аутлендер 1 (2003-2008) · Паджеро 1 и 2 (1982-1999) · Паджеро 4 (2006-2021) · Каризма (1995-2004) · Спейс Стар (1998-2005) · Новости об автомобилях · Справочник автомеханика · Дизельные двигатели · Генераторы иномарок · Пассивная безопасность авто