Оглавление: Прицепное устройство ⤓ Зеркала заднего вида ⤓ Присоединение прицепа к автомобилю ⤓ Приборы наружного освещения и…⤓ Подготовка к буксировке прицепа ⤓ Меры безопасности при буксировке…⤓
Предупреждение! Неправильное размещение багажа, а также перевозка слишком тяжелых грузов на автомобиле или буксируемом прицепе может значительно ухудшить управляемость и тормозные свойства транспортного средства/автопоезда, что чревато созданием аварийной ситуации на дорогах. Перед началом движения всегда внимательно проверяйте правильность загрузки автомобиля и прицепа.
Рассматриваемые в настоящем Руководстве модели автомобилей в первую очередь являются, конечно, пассажирскими и предназначены для перевозки людей и их багажа. Однако, при обязательном соблюдении ряда общих правил, которые приведены ниже, автомобили Mitsubishi могут также с успехом использоваться для буксировки прицепа.
Полная масса прицепа, включающая его собственную массу и массу размещенного в нем груза, не должна превышать предельной допустимой массы буксируемого прицепа. Предельная допустимая масса прицепа зависит от того, оборудован он тормозными механизмами, или нет.
Максимальная вертикальная нагрузка на прицепное устройство автомобиля при полной массе прицепа не должна превышать 50 кГс. Для прицепов с полной массой до 500 кг следует придерживаться следующего правила: вертикальная нагрузка на фаркоп должна составлять примерно 10% от полной массы прицепа. Например, если полная масса прицепа с грузом равна 225 кг, вертикальная нагрузка на прицепное устройство должна составлять около 22.5 кГс. Отрегулируйте нагрузку на фаркоп автомобиля, соответствующим образом размещая груз на прицепе. Для начала рекомендуется разместить груз так, чтобы примерно 60% его массы находилось впереди оси прицепа, и 40% - позади. Если полная масса прицепа превышает 500 кг, постарайтесь распределить груз по длине прицепа более равномерно. Никогда не загружайте прицеп так, чтобы задняя часть прицепа перевешивала переднюю, - это приводит к разгрузке задних колес автомобиля, что ухудшает сцепление шин с дорожным покрытием.
Полные массы автомобиля и буксируемого прицепа не должны превышать соответствующих максимальных допустимых значений.
Примечание. Полная масса автомобиля включает в себя: снаряженную массу автомобиля, массу водителя, пассажиров и багажа, массу прицепного устройства и приходящуюся на него массу прицепа. Помните, что масса установленного на автомобиль дополнительного оборудования и масса прицепа, приходящаяся на фаркоп (при буксировке прицепа), уменьшают на соответствующие величины полезную грузоподъемность транспортного средства.
Самым надежным способом проверки правильности загрузки автомобиля и прицепа является взвешивание. Загрузите автомобиль и прицеп так, как они обычно эксплуатируются в составе автопоезда, и взвесьте их на грузовых весах. Определите значения полных масс автомобиля и прицепа, а также масс, приходящихся на оси автомобиля и прицепа. Сравните результаты измерений с требованиями Спецификаций.
Прицепное устройство
Внимание! Установка прицепных устройств, не соответствующих по своим типоразмерам массогабаритным характеристикам прицепа, либо неправильно установленное на автомобиль, может стать причиной повреждения кузовных элементов транспортного средства.
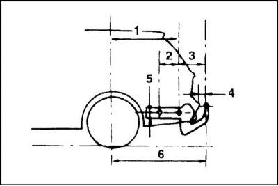
Конструкция прицепного устройства, предназначенного для установки на Ваш автомобиль должна полностью удовлетворять всем необходимым требованиям, - на иллюстрациях и в приведенной ниже таблице даны основные размерные характеристики. В случае необходимости проконсультируйтесь на станции техобслуживания компании Mitsubishi.



Прицепное устройство должно крепиться в нескольких специально предусмотренных точках на основании кузова автомобиля, чтобы нагрузки от буксируемого прицепа распределялись более равномерно и приходились на элементы усиления кузова. Запрещено монтировать на автомобиль прицепные устройства, опирающиеся только на задний бампер, который не предназначен для восприятия подобных нагрузок. Монтаж фаркопа должен быть произведен квалифицированным персоналом автосервиса.
Данные в таблице приведены в мм.
| Размер | Седан | Универсал |
| 1 | 885 | 885 |
| 2 | 200 | 200 |
| 3 | 275 | 325 |
| 4 | 95 | 95.2 |
| 5 | 38.2 | 38.2 |
| 6 | 1160 | 1210 |
| 7 | 486 | 486 |
| 8 | 486 | 486 |
| 9 | 518 | 518 |
| 10 | 518 | 518 |
Зеркала заднего вида
Буксировка крупногабаритного прицепа (типа "Караван") обычно требует установки на автомобиль дополнительных зеркал заднего вида с удлиненными кронштейнами. Уточните требования местного законодательства и Правил дорожного движения, касающиеся буксировки прицепов легковыми автомобилями. Присоедините прицеп к автомобилю и оцените степень ухудшения заднего обзора через стандартные зеркала заднего вида. Если обзор неудовлетворительный, то из соображений безопасности необходимо оборудовать специальные зеркала, обеспечивающие водителю адекватный обзор пространства позади автомобиля.
Присоединение прицепа к автомобилю
Оригинал статьи находится на сайте www.mitsubishiman.ru
Если Вы собираетесь приобрести прицеп, оборудованный тормозными механизмами, убедитесь в том, что они имеют электрический привод управления, - конструкция гидравлического привода рабочей тормозной системы Вашего автомобиля не предусматривает возможности подключения к ней каких-либо дополнительных контуров, в частности, для приведения в действие тормозных механизмов прицепа. Любой способ присоединения к тормозному гидроприводу автомобиля тормозной системы прицепа, каким бы привлекательным он не казался, приведет к ухудшению эффективности торможения автомобиля и снижению безопасности движения.
Присоединяя прицеп к автомобилю, всегда используйте страховочную цепь. Концы страховочной цепи должны быть надежно закреплены к соответствующим местам на дышле прицепа и на прицепном устройстве автомобиля. Проследите, чтобы цепь проходила под дышлом прицепа, - это предотвратит падение переднего конца дышла на дорогу в случае рассоединения сцепки. Свободная длина цепи должна быть достаточной, чтобы не мешать совершению разворотов автопоезда с минимальными радиусами, однако, не следует допускать волочения цепи по земле.
Приборы наружного освещения и сигнализации на прицепе
Поскольку на прицепах различных марок может использоваться различная прокладка электропроводки, оборудование фаркопа следует поручить специалистам автосервиса. В некоторых случаях может потребоваться установка переходной насадки (адаптера).
Перед тем, как подсоединить электрооборудование прицепа к электросети автомобиля, обязательно проконсультируйтесь на станции техобслуживания.
Подготовка к буксировке прицепа
Перед началом движения следует произвести контрольный осмотр и проверку автомобиля и прицепа.
Измерьте вертикальную нагрузку, приходящуюся на прицепное устройство, - воспользуйтесь обычными напольными весами.
Проверьте надежность крепления дышла прицепа и страховочной цепи.
Проверьте техническое состояние шин и давление воздуха в шинах на автомобиле и прицепе. Пониженное давление воздуха в шинах заметно ухудшает управляемость автомобиля и автопоезда. Заодно проконтролируйте состояние и давление воздуха в запасном колесе.
Полностью загрузив и присоединив прицеп к автомобилю, удостоверьтесь в отсутствии чрезмерного "проседания" задней части автомобиля, - в случае необходимости груз в автомобиле/прицепе.
Проверьте исправность функционирования приборов наружного освещения и сигнализации на автомобиле и прицепе.
Уточните действующие ограничения ПДД на максимальную скорость движения автопоезда в составе легкового автомобиля и прицепа. Планируя совершить поездку по нескольким странам, заранее ознакомьтесь с особенностями местных требований и ограничений, касающихся буксировки прицепа легковым автомобилем, так как в каждой стране могут действовать свои ограничения.
Примечание. В европейских странах ограничение скорости движения автопоезда в составе легкового автомобиля и прицепа установлено на уровне 100 км/ч.
Меры безопасности при буксировке прицепа
Следует учитывать, что тормозной путь автомобиля, буксирующего прицеп, увеличивается. Поэтому, двигаясь с прицепом, Вам следует поддерживать увеличенную дистанцию до впереди идущего автомобиля. Старайтесь избегать резких торможений и поворотов. Это может привести к складыванию автопоезда или даже переворачиванию прицепа.
Помните, что длина автопоезда значительно превышает длину одиночного автомобиля. При повороте направо оставляйте между краем проезжей части дороги и колесами правого борта автомобиля значительно большее расстояние, чем обычно, чтобы избежать наезда колесами прицепа на бордюр. Учтите, что при повороте автопоезда прицеп движется по дуге меньшего радиуса, чем автомобиль, и может наехать или столкнуться с препятствием, которое автомобиль свободно миновал. При обгоне другого транспортного средства не торопитесь возвращаться в свой ряд, так как это может привести к столкновению обгоняемого автомобиля с прицепом.
Автопоезд, по сравнению с одиночным автомобилем, более чувствителен к действию порывов бокового ветра и аэродинамическим возмущениям от других автомобилей. Если Вас на большой скорости обгоняет тяжелый грузовик или автопоезд, старайтесь поддерживать прямолинейное и равномерное движение своего автомобиля. Чтобы уменьшить аэродинамические возмущения, действующие на автопоезд от впереди идущего автомобиля, снизьте скорость, чтобы выйти из турбулентного потока.
При буксировке прицепа нагрузка на все основные агрегаты и системы автомобиля увеличивается. Поэтому при частом использовании автомобиля для буксировки прицепа необходимо проводить периодическое техническое обслуживание автомобиля в соответствии с регламентом, характерным для напряженных условий эксплуатации (см. Главу Настройки и текущее обслуживание).
Дополнительная нагрузка на автомобиль еще более возрастает при эксплуатации автопоезда в холмистой местности. При преодолении затяжных подъемов внимательно следите за температурным режимом двигателя по стрелочному указателю на приборной доске. При приближении стрелки указателя к зоне перегрева, выключите кондиционер воздуха (если он оборудован и включен) и продолжайте движение. Если температура охлаждающей жидкости двигателя не снижается, либо продолжает повышаться, остановитесь на обочине дороги и дайте двигателю остыть.
Примечание. Кондиционер воздуха следует выключать также при стремительном увеличении скорости на спуске при движении в холмистой или гористой местности. Если температура охлаждающей жидкости двигателя постоянно повышается при движении на второй передаче, снизьте скорость движения ниже отметки 60 км/ч.
При движении в холмистой или гористой местности может наблюдаться циклическое переключение третьей и четвертой передач автоматической трансмиссии. В этом случае следует перейти в пониженный диапазон "D3", что предотвратит перегрев и излишний износ деталей фрикционных элементов АТ. Во избежание перегрева тормозных механизмов при движении по длинным спускам используйте торможение двигателем. Для эффективного торможения двигателем включите пониженный диапазон или одну из низших ступеней автоматической коробки передач.
При остановке автопоезда на подъеме не удерживайте его на месте путем прижимания педели газа, - это может привести к перегреву АТ. Пользуйтесь рабочей тормозной системой, или стояночным тормозом.
При управлении автоматической трансмиссией в ручном режиме пользуйтесь третьей, второй и первой передачами, сообразуясь со скоростью движения автомобиля и дорожными условиями. Буксируя прицеп, не включайте четвертую передачу. В Спецификациях приведены рекомендуемые скоростные диапазоны для использования различных ступеней коробки передач.
Запарковывая автопоезд на длительную стоянку, особенно на спуске или подъеме, примите все меры предосторожности для надежного торможения автомобиля и прицепа. Поверните передние колеса автомобиля так, чтобы при скатывании автопоезда они уперлись в бордюрный камень. Полностью взведите стояночный тормоз и переведите рычаг селектора диапазонов в положение "Р". На оборудованных РКПП моделях включите первую, либо заднюю передачу. Дополнительно подложите под оба колеса прицепа противооткатные башмаки.
Управление автопоездом при движении задним ходом представляет определенные трудности и требует от водителя специальных навыков и тренировки. Двигайтесь задним ходом осторожно и медленно, не вращайте излишне быстро рулевое колесо. При маневрировании задним ходом в стесненных условиях полезно, чтобы кто-либо, стоя снаружи, следил за перемещениями прицепа и направлял Ваши действия. Имейте в виду, что при вращении рулевого колеса по часовой стрелке (направо) прицеп движется влево, и наоборот. При маневрировании автопоезда задним ходом рекомендуется держаться за обод рулевого колеса снизу (а не сверху, как обычно, при движении передним ходом). При таком хвате сохраняется привычное соответствие между направлением поворота рулевого колеса и движением прицепа: смещение руки влево приводит к повороту прицепа также влево и наоборот.
