Панель управления отопителем (1983-91)
1. Фиксаторы ящика для мелочей; 2. Трос привода заслонки распределительной коробки; 3. Рукоятки; 4. Заглушка; 5. Центральная секция; 6. Разъем; 7. Нижняя крышка воздуховода ниши для ног; 8. Воздуховод обогрева ветрового стекла; 9. Трос делительной заслонки; 10. Трос привода крана; 11. Панель управления; 12. Переключатель блока обдува
Панель управления отопителем (1992-98)
1. Фиксаторы; 2, 16. Трос привода заслонки распределительной коробки; 3, 14. Трос привода крана; 4. Нижняя панель; 5. Воздуховоды; 6, 15. Трос делительной заслонки; 7. Центральная секция; 8. Панель управления отопителем; 9. Облицовка; 10. Рукоятки; 11. Переключатель блока обдува; 12. Переключатель кондиционера; 13. Пружинные скобы
Автомобили 1983-91 гг.
1. Снимите ящик для мелочей.
2. Отсоедините трос заслонки распределительной коробки, отогнув пружинную скобу.
3. Снимите с панели управления рукоятки.
4. Удалите заглушки, отверните винты и снимите центральную секцию передней панели. При снятии отсоедините разъем с тыльной стороны.
5. Снимите нижние крышки воздуховодов по передней панелью.
6. Снимите воздуховод обогрева ветрового стекла.
7. Отсоедините тросы управления отопителем.
8. Снимите отопитель в сборе.
9. Отсоедините разъем и снимите выключатель вентилятора.
10. Установка выполняется в обратном порядке.
11. Перед присоединением тросов переведите соответствующие рычаги заслонок и крана в крайние положения и закрепите оболочки тросов пружинными скобами.
12. После сборки проверьте полноту и свободу перемещения рычажков управления.
Автомобили 1992-98 гг.
1. Снимите ящик для мелочей.
2. Отогните пружинные скобы и отсоедините тросы заслонки распределительной коробки и заслонки терморегулятора.
3. Снимите с панели управления рукоятки.
4. Удалите боковые заглушки, отверните винты и снимите центральную секцию передней панели. При снятии панели отсоедините разъем с тыльной стороны.
5. Снимите нижнюю крышку и воздуховоды левого бокового сопла и обдува ниши для ног.
6. Отсоедините трос делительной заслонки.
7. Отверните болты и снимите управления отопителем.
8. При необходимости снимите облицовку, рукоятки и выключатели.

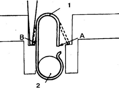
9. Удалите пружинные скобы крепления оболочек тросов, отжав их в направлениях А и В и снимите тросы (1 – скоба; 2 – трос).
10. Установка выполняется в обратном порядке.

11. Для присоединения троса заслонки распределительной коробки нажмите до отказа на рычаг в направлении, указанном стрелкой.

12. Для присоединения троса заслонки терморегулятора нажмите до отказа на рычаг в направлении, указанном стрелкой.

13. Для присоединения троса делительной заслонки нажмите до отказа на рычаг в направлении, указанном стрелкой.
14. Закрепите оболочки тросов пружинными скобами.
15. После сборки проверьте полноту и свободу перемещения рычажков управления.
