Разборка
Вал промежуточной шестерни передачи заднего хода
1. Муфту синхронизатора 3/4-й передачи переключите на 4-ю передачу (рис. 11.73).
Рис. 11.73. Снятие вала промежуточной шестерни передачи заднего хода
Шток вилки включения 3-й и 4-й передач, вилка включения 3-й и 4-й передачи, вилка включения 5-й передачи, пружинное стопорное кольцо, кулачок муфты включения передачи заднего хода, шток муфты включения 5-й передачи, стальной шарик и шток блокировки включения передачи заднего хода.
2. Переместите кулачок муфты включения передачи заднего хода в направлении, указанном стрелкой, и снимите вилку включения 5-й передачи, шток вилки включения 5-й передачи, кулачок муфты включения передачи заднего хода, пружинное стопорное кольцо, стальной шарик и шток блокировки включения передачи заднего хода (рис. 11.74).
Рис. 11.74. Переместите кулачок муфты включения передачи заднего хода в направлении, указанном стрелкой, и снимите вилку включения 5-й передачи, шток вилки включения 5-й передачи, кулачок муфты включения передачи заднего хода, пружинное стопорное кольцо, стальной шарик и шток блокировки включения передачи заднего хода
3. Переместите шток вилки включения 3-й и 4-й передач в направлении, указанном стрелкой, и снимите шток вместе с вилкой включения (рис. 11.75).
Рис. 11.75. Переместите шток вилки включения 3-й и 4-й передач в направлении, указанном стрелкой, и снимите шток вместе с вилкой включения
Первичный и вторичный валы
4. Первичный и вторичный вал снимаются вместе (рис. 11.76).
Рис. 11.76. Снятие первичного и вторичного валов
Регулировка перед сборкой
Выбор регулировочной шайбы для регулировки осевого зазора дифференциала
5. Установите калиброванную проволоку (длиной 10 мм, диаметром 1.6 мм) на картере КПП и установите дифференциал, как показано на рис. 10.77.
Рис. 11.77. Установите калиброванную проволоку (длиной 10 мм, диаметром 1.6 мм) на картере КПП и установите дифференциал
6. Установите картер сцепления и затяните болты до требуемого момента.
7. Если калиброванная проволока не сжимается, установите другую с большим диаметром и повторите шаги 1 и 2.
8. Измерьте толщину Т сжатой калиброванной проволоки с помощью микрометра (рис. 11.78). Выберите регулировочную шайбу. Толщина регулировочной шайбы: от Т - 0.05 мм, до Т - 0.17 мм.
Рис. 11.78. Измерьте толщину Т сжатой калиброванной проволоки с помощью микрометра и выберите регулировочную шайбу
Сборка
Шток вилки включения 3-й и 4-й передач, вилка включения 3-й и 4-й передачи, вилка включения 5-й передачи, пружинное стопорное кольцо, кулачок муфты включения передачи заднего хода, шток муфты включения 5-й передачи, стальной шарик и шток блокировки включения передачи заднего хода.
9. Установите шток вилки включения 3-й и 4-й передач и вилку включения 3-й и 4-й передач (рис. 11.79).
Рис. 11.79. Установите шток вилки включения 3-й и 4-й передач и вилку включения 3-й и 4-й передач
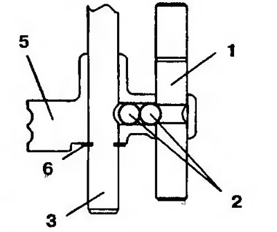
10. Соберите шток блокировки включения передачи заднего хода 1, стальной внутренний шарик 2, шток вилки включения 5-й передачи 3, вилку включения 5-й передачи 4, кулачок муфты включения передачи заднего хода 5, пружинное стопорное кольцо 6 (рис. 11.80, а, б).
Рис. 11.80а. Правильность установки штока блокировки включения передачи заднего хода 1, стального внутреннего шарика 2, штока вилки включения 5-й передачи 3, вилки включения 5-й передачи 4, кулачка муфты включения передачи заднего хода 5, пружинного стопорного кольца 6 |
Рис. 11.806. Правильность установки штока блокировки включения передачи заднего хода 1, стальных шариков 2, штока вилки включения 5-й передачи 3, кулачка муфты включения передачи заднего хода 5, пружинного стопорного кольца 6 |
Оригинал материала на веб-сайте: MITSUBISHIMAN
11. Переместите кулачок муфты включения передачи заднего хода в направлении стрелки (рис. 11.74). Установите вилку и шток включения 5-й передачи, кулачок муфты включения передачи заднего хода, пружинное стопорное кольцо, стальной шарик и шток блокировки включения передачи заднего хода.
Вал промежуточной шестерни передачи заднего хода
12. Муфту синхронизатора 3-й и 4-й передач переключите на 4-ю передачу (рис. 11.73).
13. Расположите резьбовое отверстие вала промежуточной шестерни передачи заднего хода в направлении, указанном на рис. 11.81.
Рис. 11.81. Правильное расположение резьбового отверстия вала промежуточной шестерни передачи заднего хода
