Русский English
Български
Беларускі
Український
Српски
Hrvatski
Română
Polski
Slovenský
Magyar
Статьи В закладки Контакты Карта Поиск:  
Компания Audi Компания Ford Компания Hyundai Компания Kia Компания Mazda Компания Mercedes-Benz Компания Nissan
MitsubishiMan.ru
 
 
 
 
 
 
 
Главная Colt Lancer Galant L200 Outlander Pajero Остальные
L200 4 (2005-2014, дизель)

Датчик положения коленчатого вала (Mitsubishi L200 4)

  • Главная
  • Л200
  • 4 (2005-2014, дизель)
  • Силовой агрегат
  • Система управления
  • Датчик положения коленчатого вала
0
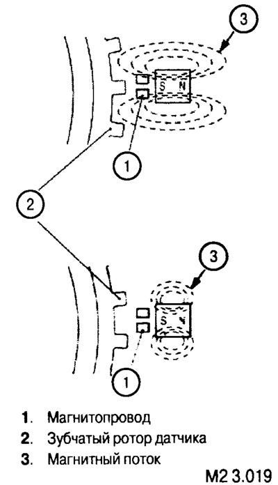
Этот датчик измеряет угол поворота коленчатого вала. Одновременно, соотнося угол поворота со временем, получают частоту вращения коленчатого вала. Эти данные используются для синхронизации всего процесса впрыска топлива и определения опережения впрыска в зависимости от частоты вращения (чем выше частота вращения, тем больше угловой промежуток между началом впрыска и ВМТ).

Этот датчик измеряет угол поворота коленчатого вала. Одновременно, соотнося угол поворота со…


Датчик установлен на корпусе насоса ОЖ (см. рис. М2 3.018).

Датчик установлен на корпусе насоса ОЖ (см. рис. М2 3.018).
Эта статья доступна на: английском, болгарском, белорусском, украинском, сербском, хорватском, румынском, польском, словацком, венгерском
Данная статья была проверена: Никита Романов
Поделитесь с друзьями:
◀ Предыдущие
L200 4: Система управления
Следующие ▶

Измеритель расхода воздуха (по массе)
Датчики температуры
Датчик давления в ТКВД
Датчики положения педали акселератора (основной и дублирующий)
Электронный блок управления двигателем (ЭБУД)
Датчик положения распределительного вала
Датчик положения клапана рециркуляции ОГ
Датчик абсолютного давление во впускном коллекторе
Датчик давления в топливном фильтре (если им оборудован автомобиль)
Другие датчики и сигнализаторы
Похожие материалы для других моделей Мицубиси

➤ Шкив коленчатого вала — снятие и установка (SOHC, 16… Мицубиси Кольт 4 и 5 (1991-2003)
➤ Датчик положения коленчатого вала — проверка Мицубиси Лансер 3 и 5 (1984-1992)
➤ Снятие и установка демпфера крутильных колебаний… Мицубиси Галант 6 и 7 (1987-1998)
➤ Снятие и установка переднего и заднего сальников… Мицубиси Аутлендер 1 (2003-2008)
➤ Датчик положения коленчатого вала Мицубиси Паджеро 4 (2006-2021)
➤ Датчик положения распределительного вала Мицубиси Спейс Стар (1998-2005)
Ссылка в разных форматах на эту статью
TEXTHTMLBB Code
Комментарии и отзывы посетителей
Комментариев пока нет


Сложите два числа 38 + 27

       





L200 4 (2005-2014, дизель) 
  • Общая информация
  • Руководство по эксплуатации
  • Техническое обслуживание
  • Силовой агрегат
  • Дизельный двигатель
  • Система смазки
  • Топливная система
  • Система управления
  • Трансмиссия
  • Сцепление
  • Механическая коробка
  • Раздаточная коробка
  • Передний мост
  • Задний мост
  • Шасси и ходовая часть
  • Подвеска автомобиля
  • Рулевое управление
  • Тормозная система
  • Кузов и салон
  • Экстерьер (наружные элементы)
  • Интерьер (внутренние элементы)
  • Двери, замки и окна
  • Электрооборудование
  • Оборудование и приборы
  • Электрические схемы
   Автомобильный анекдот:
показать следующий
MitsubishiMan.ru © 2018–2025 • Мобильная версия • Статьи о Мицубиси • Контакты • Карта сайта: EN BG BY UA RS HR RO PL SK HU • Поиск по сайту • В закладки
Кольт 2 и 3 (1983-1993) · Кольт 4 и 5 (1991-2003) · Кольт 5 (1995-2003) · Лансер 3 и 5 (1984-1992) · Лансер 9 (2000-2007) · Галант 5 (1983-1989) · Галант 6 и 7 (1987-1998) · L200 4 (2005-2014) · Аутлендер 1 (2003-2008) · Паджеро 1 и 2 (1982-1999) · Паджеро 4 (2006-2021) · Каризма (1995-2004) · Спейс Стар (1998-2005) · Новости об автомобилях · Справочник автомеханика · Дизельные двигатели · Генераторы иномарок · Пассивная безопасность авто