
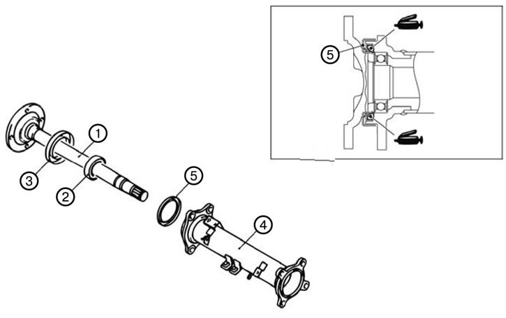
1. Снять внутрен ний вал (1).
2. Снять подшипник (2).
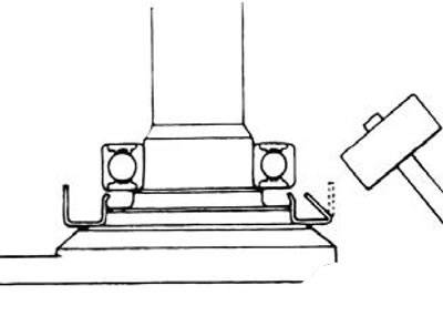
1) Выбить наружу край пылезащитного покрытия при помощи деревянного молотка.

2) Установить специальный инструмент МВ990560, как показано на рисунке, затем затянуть гайку специального инструмента МВ990560 до тех пор, пока специальный инструмент дотронется до внешнего кольца подшипника.

3) Снять внутренний вал с подшипника.

3. Снять пылезащитное покрытие (3).
4. Снять трубчатый корпус (4).
5. Снять пылезащитное уплотнение (5).
