Оглавление: Трос акселератора двигателей 3,0…⤓ Регулировка ⤓
Трос акселератора двигателей 3,0 (24-клапанного) и 3,5 л
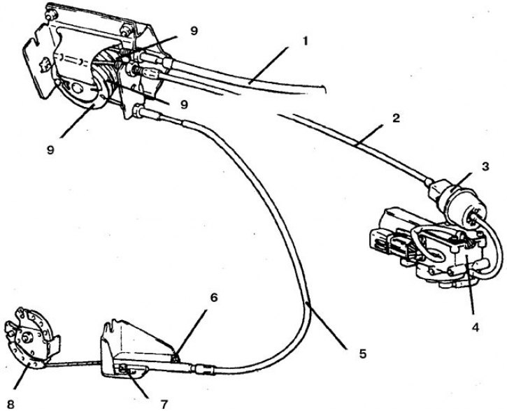
1. Трос акселератора; 2. Трос круиз-контроля; 3. Актюатор; 4. Вакуумный насос; 5. Трос дроссельной заслонки; 6, 7. Регулировочный болт; 8. Рычаг дроссельной заслонки; 9. Тяги (А, В и С)
Регулировка
Двигатель 2,4 л
1. Регулировка выполняется при выключенном кондиционере.
2. Прогрейте двигатель.
3. Проверьте, что обороты холостого хода соответствуют норме.
4. Остановите двигатель.
5. Убедитесь в отсутствии лишних изгибов троса.
6. Проверьте свободный ход троса в оболочке (1–2 мм для а/м с механической КПП и 3–5 мм для а/м с автоматической КПП).
7. При необходимости отрегулируйте ход троса, выполнив следующее.
Текст статьи взят с сайта mitsubishiman.ru
8. Включите зажигание на 15 сек, двигатель не запускать.
9. Отпустите регулировочную гайку, чтобы полностью ослабить рычаг дроссельной заслонки.
10. Вращайте гайку до начала движения рычага, отпустите на 1 оборот и затяните контргайку.
11. Убедитесь, что ограничитель троса касается привода корректора холостого хода.
12-клапанный двигатель 3,0 л
1. Убедитесь в отсутствии лишних изгибов троса.
2. Убедитесь, что тяга заслонки касается ограничителя.
3. Отпустите регулировочные болты на впускном коллекторе и закрепите оболочку троса так, чтобы свободный ход троса в оболочке был 1–2 мм. Если свободный ход велик, то автомобиль будет быстро терять скорость на подъемах, при отсутствии свободного хода троса возрастут обороты холостого хода.
4. Проверьте полноту открывания и закрывания дроссельной заслонки.
24-клапанный двигатель 3,0 л и двигатель 3,5 л
1. Убедитесь в отсутствии лишних изгибов троса.
2. Убедитесь, что рычаг заслонки касается ограничителя.
3. Убедитесь, что свободный ход троса в оболочке 1–2 мм.
4. При необходимости отрегулируйте, вращая регулировочную гайку оболочки, которую законтрите контргайкой.
