Внимание! Для разборки задней стойки необходимо использовать приспособление для сжатия пружин.
Разборка
Для разборки задней стойки выполните следующие операции.
Рис. 16.17. Стойка задней подвески: 1 – защитный колпачок; 2 – самоконтрящаяся гайка (25 Н·м); 3 – шайба; 4 – верхняя втулка «В»; 5 – верхняя опора стойки; 6 – гильза; 7 – верхняя чашка пружины; 8 – верхняя втулка «А»; 9 – чашка амортизатора; 10 – буфер хода сжатия; 11 – защитный кожух; 12 – пружина; 13 – амортизатор в сборе
1. Используя лезвие отвертки как рычаг, снимите защитный колпачок 1 (рис. 16.17).
Рис. 16.18. Использование специальных приспособлений МВ991239 (1) и МВ991237 (2) для сжатия пружины
2. Используя специальное приспособление МВ991239 1 (рис. 16.18) с захватами МВ991237, сожмите пружину так, чтобы она отошла от верхней чашки. При использовании специального приспособления для сжатия пружин следите, чтобы витки пружины надежно захватывались, и сжатие пружины проводите с противоположных сторон. Пружина имеет очень большое усилие сжатия, поэтому используйте надежный инструмент. Ни в коем случае не связывайте пружину проволокой.
Рис. 16.19. Отвинчивание самоконтрящейся гайки крепления штока амортизатора
3. Зафиксируйте ключом шток амортизатора от проворачивания и, используя второй ключ, отверните самоконтрящуюся гайку крепления штока амортизатора (рис. 16.19).
Внимание! Не применяйте ударный гайковерт при отворачивании самоконтрящейся гайки.
4. Снимите шайбу 3 (см. рис. 16.17)
5. Снимите верхнюю втулку «В» 4.
6. Снимите верхнюю опору 5 стойки.
7. Снимите верхнюю чашку 7 пружины.
8. Снимите верхнюю втулку «А» 8.
9. Снимите гильзу 6.
10. Снимите чашку 9 амортизатора.
11. Снимите защитный кожух 11.
12. Снимите буфер 10 хода сжатия.
13. Вместе с приспособлением для сжатия пружин снимите пружину 12.
Проверка
1. Проверьте резиновые детали на отсутствие повреждений.
2. Проверьте пружины задней подвески на отсутствие износа, трещин или повреждений.
3. Проверьте амортизатор на наличие утечек амортизационной жидкости. Проверьте по всей длине шток амортизатора на отсутствие точечной коррозии, а корпус амортизатора – на отсутствие механических повреждений. Установите амортизатор в вертикальное положение и проверьте его работу, перемещая шток амортизатора на полный ход. Шток амортизатора должен перемещаться плавно, с ощутимым сопротивлением. Если шток амортизатора перемещается рывками или имеются механические повреждения, амортизатор подлежит замене.
Сборка
Сборка проводится в последовательности, обратной снятию, с учетом следующего.
1. Если устанавливается новая пружина, сожмите ее специальным приспособлением (МВ991237, МВ991239) и установите ее на амортизатор.
2. Совместите нижний виток пружины с выемкой на седле пружины.
3. Установите буфер хода сжатия, защитный кожух, затем совместите верхний виток пружины с выемкой в верхней чашке и установите чашку.
4. Установите гильзу, верхнюю втулку «А» и верхнюю чашку пружины.
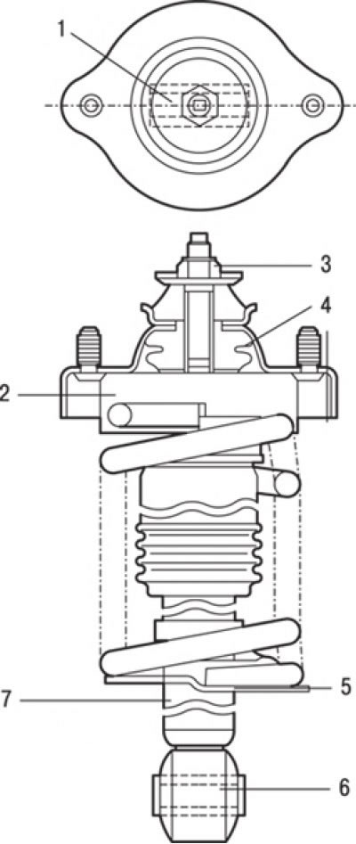
Рис. 16.20. Правильное расположение верхней опоры стойки, при этом ось внутренней трубки нижней втулки амортизатора должна совпадать с линией между болтами крепления верхней опоры при виде сверху: 1 – внутренняя трубка нижней втулки; 2 – чашка пружины; 3 – самоконтрящаяся гайка; 4 – верхняя опора стойки; 5 – седло пружины; 6 – внутренняя трубка нижней втулки; 7 – амортизатор
5. Установите верхнюю опору стойки таким образом, чтобы ось внутренней трубки нижней втулки амортизатора совпадала с линией между болтами крепления верхней опоры при виде сверху (рис. 16.20).
6. Наверните и предварительно затяните самоконтрящуюся гайку.
7. Снимите специальные приспособления для сжатия пружин (МВ991237 и МВ991239) и окончательно затяните самоконтрящуюся гайку требуемым моментом затяжки.
Внимание! Не применяйте ударный гайковерт при затягивании болта специального приспособления.
