Оглавление: Снятие ⤓ Установка ⤓
Снятие
1. Отсоедините провод от отрицательной клеммы аккумуляторной батареи.
2. Снимите ремень привода ГРМ.
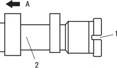
Рис. 3.15. Распределительные валы и сальники распределительного вала двигателя DOHC: 1 – центральная крышка; 2 – болты, 10 Н·м; 3 – катушка зажигания в сборе; 4 – болт, 3,4 Н·м; 5 – крышка подшипника распределительного вала; 6 – болт, 10–12 Н·м; 7 – болт, 21–25 Н·м; 8 – передние крышки подшипников распределительных валов; 9 – распределительные валы; 10 – сальник распределительного вала; 11 – шкив распределительного вала; 12 – болты, 88 Н·м; 13 – полукруглая заглушка; 14 – кольцевое уплотнение; 15 – датчик неисправности системы зажигания в сборе; 16 – болт, 12–15 Н·м; 17 – патрубок системы принудительной вентиляции картера (PCV); 18 – задняя крышка подшипника распределительного вала; 19 – прокладка крышки головки блока цилиндров; 20 – крышка головки блока цилиндров; 21 – соединение шланга вентиляции картера; 22 – жгут проводов системы управления двигателем
3. Отверните болты и снимите центральную крышку 1 (рис. 3.15).
4. Отверните болты и снимите катушки зажигания 3 в сборе с наконечниками высоковольтных проводов.
5. С крышки головки блока цилиндров отсоедините шланг 21 вентиляции картера и патрубок 17 системы принудительной вентиляции картера (PCV).
6. Отверните болты, отсоедините электрические разъемы и снимите жгут 22 проводов системы управления двигателем.
7. Отверните болт и снимите датчик 15 неисправности системы зажигания в сборе.
8. Отверните болты и снимите крышку 20 головки блока цилиндров вместе с прокладкой 19.
9. Снимите полукруглую заглушку 13.
Рис. 3.16. Отворачивание болта крепления шкива распределительного вала
10. Удерживая ключом шестигранные части распределительных валов, отверните болты крепления шкивов распределительных валов и снимите шкивы (рис. 3.16).
Внимание! Чтобы не повредить шкив распределительного вала, не удерживайте его ключом от проворачивания.
11. Снимите сальники 10 (см. рис. 3.15) распределительных валов.
12. Снимите кольцевое уплотнение 14.
13. Отверните болты и снимите передние крышки 8 подшипников распределительных валов.
14. Отверните болты и снимите заднюю крышку 18 подшипника распределительного вала.
15. Равномерно и постепенно отверните болты крепления крышек распределительных валов, снимите крышки 5 и распределительные валы 9.
Установка
Установка проводится в последовательности, обратной снятию, с учетом следующего.
1. Нанесите слой моторного масла на опорные шейки и кулачки распределительных валов.
2. Уложите распределительные валы в опорные поверхности головки блока цилиндров.
Рис. 3.17. Расположение паза на распределительном валу выпускных клапанов: А – сторона шкива распределительного вала; 1 – паз; 2 – распределительный вал выпускных клапанов
3. Не перепутайте местами распределительные валы. На заднем торце распределительного вала выпускных клапанов выполнен паз (рис. 3.17).
Рис. 3.18. Расположение установочных штифтов (1) при установке распределительных валов
4. Расположите установочные штифты распределительных валов, как показано на рис. 3.18.
5. Правильно разместите углубления для затяжки болтов крышек подшипников распределительных валов.
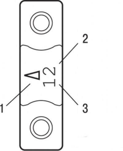
Рис. 3.19. Расположение идентификационных меток на крышке подшипника распределительного вала: 1 – метка «Перед»; 2 – номер крышки подшипника распределительного вала; 3 – идентификационный символ
6. Проверьте идентификационные символы распределительного вала и номера крышек подшипников, установите их, учитывая их соответствие и ориентацию метки «Перед» (рис. 3.19).
Распределительный вал впускных клапанов имеет идентификационный символ «I», распределительный вал выпускных клапанов – символ «Е».
Рис. 3.20. Места нанесения герметика на головку блока цилиндров: 1 – места нанесения герметика ЗМ ATD Part №8660; 2 – головка блока цилиндров; 3 – прокладка крышки головки блока цилиндров; 4 – полукруглая заглушка
7. Нанесите герметик ЗМ ATD Part №8660 или подобный ему на места головки блока цилиндров, показанные на рис. 3.20.
8. После предварительной затяжки крышек подшипников распределительных валов в 2–3 приема затяните их окончательно номинальным моментом:
- 21–25 Н·м – передние и задние крышки;
- 10–12 Н·м – остальные крышки.
9. Убедитесь, что коромысла клапанов правильно ориентированы по отношению к стержням клапанов и гидрокомпенсаторам.
10. Используя специальное приспособление или трубчатую оправку, установите кольцевое уплотнение.
11. Смажьте моторным маслом рабочую кромку сальника распределительного вала.
12. При запрессовке сальника распределительного вала используйте специальный инструмент.
13. Для фиксации шкива от проворачивания применяйте специальный инструмент (тот же, что и при снятии) и затем затяните болты моментом 88 Н·м.
